Назад




Рис. 4. Регулирование подачи лопасного насоса дросселированием
напорной (а) и
всасывающей (б) стороны



Рис. 5. Характеристики насоса и сети при регулировании дросселированием напорной стороны


Рис. 6. Схема центробежного насоса, регулируемого изменением ширины входных отверстий рабочего колеса


Рис. 7. Характеристики насоса
и сети при регулировании
дросселированием всасывающей стороны



Рис. 8. Схема центробежного насоса, регулируемого одновременным дросселированием
всасывающей и напорной сторон

Дросселирование – гашение части напора, создаваемого насосом, с помощью искусственно вводимого в напорную или всасывающую линию гидравлического сопротивления (рис. 4). Обычно дросселирование достигается частичным закрытием задвижки на напорном трубопроводе насоса. Данный способ является наиболее простым и распространенным, но вместе с тем наименее экономичным, так как часть напора, создаваемого насосом, бесполезно тратится на преодоление сопротивления задвижки и при этом рассеивается соответствующая мощность.
На рис. 5 показаны характеристики насоса 1, сети 2, КПД насоса 3 (кривая 3’ отображает КПД насосной установки). Рабочей точке А соответствует подача насоса QA. Если по условиям работы системы в нее следует подавать жидкость с расходом QB, меньшим расхода QA, прикрывают задвижку на напорном патрубке насоса, уменьшая его подачу (характеристики сети 2’, 2”, 2’” соответствуют различной степени открытия дросселирующего органа). Для определения режима работы насоса из точки QB проведем прямую, параллельную оси ординат. Она пересечет характеристику системы в точке С и характеристику насоса – в точке В. Разница ординат этих точек hw является излишним напором, подлежащим «погашению» сопротивлением задвижки [1-3, 5, 6, 16, 19, 35, 40]. Теряемая при регулировании мощность определяется выражением

где hw – напор, теряемый в дросселирующей задвижке,
– КПД насоса, соответствующий подаче QB.
Коэффициент полезного действия регулируемой установки определяется выражением

где HC – напор, необходимый для подачи расхода QC
HB – напор, развиваемый насосом при подаче расхода QB
– КПД двигателя.

Метод регулирования при помощи всасывающей задвижки экономически является несколько более выгодным, чем регулирование с помощью напорной задвижки, но его применение ограничено требованием поддержания высоты всасывания, меньше предельной для обеспечения нормальной работы насоса.
Прикрывая задвижку на всасывающей трубе, увеличивают таким образом разряжение в ней, что равносильно увеличению высоты всасывания. Следует отметить, что увеличение высоты всасывания выше определенных пределов вызывает кавитацию, делает работу насоса неустойчивой и создает опасность срыва работы насоса [1, 16].
Метод регулирования при помощи всасывающей задвижки экономически является несколько более выгодным, чем регулирование с помощью напорной задвижки, но его применение ограничено требованием поддержания высоты всасывания, меньше предельной для обеспечения нормальной работы насоса. Прикрывая задвижку на всасывающей трубе, увеличивают таким образом разряжение в ней, что равносильно увеличению высоты всасывания. Следует отметить, что увеличение высоты всасывания выше определенных пределов вызывает кавитацию, делает работу насоса неустойчивой и создает опасность срыва работы насоса [1, 16].
На рис. 6 приведена схема центробежного насоса, регулируемого дросселированием всасывающей линии насоса непосредственно перед его рабочим колесом посредством изменения ширины входных отверстий рабочего колеса [20]. На входе в рабочее колесо 1 установлен полый цилиндр 2. Прорези 3 цилиндра совпадают по профилю с входными отверстиями 4 каналов рабочего колеса. Ширина входных отверстий 4 равна или меньше ширины лопатки рабочего колеса на входе 5. Цилиндр 2 может поворачиваться, например, с помощью гидродвигателя 6, размещенного во втулке рабочего колеса. При максимальной подаче насос работает с открытыми входными отверстиями каналов рабочего колеса. При необходимости изменить подачу с помощью гидродвигателя 6 поворачивают цилиндр 2, который перекрывает входные отверстия каналов рабочего колеса.
На рис. 7 изображены характеристика сети 2, насоса 1 и редуцированные характеристики 1’, 1”, отвечающие разной степени открытия а дроссельной задвижки на всасывающем трубопроводе. Редуцированная характеристика есть характеристика насоса, отнесенная к какой-то точке трубопровода после задвижки. Для получения редуцированной характеристики от взятой точки откладывают потери напора на участке от насоса до данной точки. Разница ординат характеристики насоса и построенной характеристики потерь напора даст редуцированную характеристику.
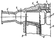
Способ регулирования всасывающей задвижкой особенно выгоден при пологой характеристике системы. Если по условиям всасывания допустимо регулирование всасывающей задвижкой, надежнее применить комбинированное регулирование при помощи всасывающей и напорной задвижек. На рис. 8 представлен один из возможных способов конструктивного исполнения насоса, регулируемого данным способом. Насос содержит корпус 1, рабочее колесо 2, установленное на валу 3. В корпусе 1 имеется сборник (улитка) 4. Рабочая жидкость выводится из насоса по тангенциально расположенному патрубку 5, а поступает в полость колеса по входному патрубку через расположенный вдоль его оси опорный стакан 6 с окнами 7. Между стаканом 6 и входными кромками рабочего колеса 2 размещен регулируемый клапан 8. Между выходными кромками рабочего колеса 2 и полостью сборника 4 установлена цилиндрическая заслонка 9, регулирующая выход рабочей жидкости из рабочего колеса. Регулирование режимов работы насоса осуществляется синхронным перемещением клапана 8 и заслонки 9 в осевом направлении. Во время работы насоса на режиме минимальных расходов клапан 8 и заслонка 9 устанавливаются в положение, показанное пунктиром. Для работы насоса на промежуточных режимах клапан 8 и заслонка 9 устанавливаются в необходимое промежуточное положение, обеспечивая оптимальные энергетические характеристики системы во всем рабочем диапазоне [21].