Search Map Русский
Home News Knowledge Base Tools Projects Organizations and Processes
Knowledge base

Structural components of combined drainage system: calculation and designing

To the beginning of the section

The key structural components of combined drainage are blow-out wells-amplifiers of increased water-capture capacity, which are installed along horizontal drains. The amplifiers are bore wells 0.5 meter in diameter cased with plastic pipes 0.1-0.125 m in diameter. The water intake section at most 10-15 m long is equipped with slit perforation (3-4 mm thick and 100 mm long) with porosity of 5-6% and is protected by sandy gravel filter of specially selected (depending on the nature of aquifer soil) composition.

Such a design of a bore well and the technique of its installation by drilling without applying mud solution with subsequent tubing, packaging and immediate pumping out, which are performed in a single work cycle by connecting amplifiers to horizontal network, ensures considerable enhancement of the water-capture capacity of combined drainage.

Source: agronews.uz

Combined drainage consists of horizontal drains with vertical wells-amplifiers. Wells-amplifiers are of blow-out types and operate without pumps owing to pressure difference in the middle between wells and in the point of their connection. They are made from asbestos-cement pipes laid at a depth of 6-10 m down to underlying pressure water-bearing stratum (aquifer). Horizontal drains serve for diversion of water coming from wells; they may be of open and closed types. The space between the horizontal drains is 200-400 m and more, between the wells-amplifiers is 50-150 m.

Combined drainage can be used as regular and protecting under such hydrogeological conditions where horizontal and vertical drainages are inefficient and thin confined aquifer (< 10 m thick) underlies weak-permeable layer of more than 4 m in thickness. Combined drainage is not widespread because of constrained conditions for its effective use.

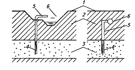
Structure of combined drainage:
1 – ground surface; 2 – low-permeable stratum; 3 – water-bearing stratum; 4 – screen of well-amplifier;
5 – well-amplifier; 6 – open and closed horizontal drains

Source: Land reclamation / Golovanov, A.I., Aydarov, I.P., Grigorov, M.S., et al.
Edited by Golovanov, A.I. Moscow, “Kolos” Publishing House, 2011. p. 824

Design of combined drainage

1. Combined drainage should be designed in the cases stipulated in Clause 2.200 of the Construction Standards and Regulations 2.06.03-85. Computation of combined drainage should be carried out according to the recommended attachment 15 of the Industrial Construction Standards VSN 33-2.2.03-86 “Reclamation Works and Structures. Drainage on Irrigated Lands. Design Standards”.

2. Computation of linear (gate-type) combined drainage should be carried out by formulas for linear horizontal drainage, where the flow coefficients of horizontal drainage are substituted by the flow coefficient flow coefficients of combined drainage.

3. Connection of wells-amplifiers to horizontal drains is to ensure control of performance of wells during their operation, as well as compliance with the requirements of Clause 2.223 of the Construction Standards and Regulations 2.06-03-85. To this effect, the following should be provided:

• Connection of the water diversion pipes of wells to the surface inlet higher than the water level in the surface inlet or top of drainage pipes at least by 0.6-0.8 of its diameter;

• Connection of wells-amplifiers to open collector network at the rated water level corresponding to passing of average vegetation flow rate.

4. The length of the filtering section of wells-amplifiers should be taken as equal to the thickness of the water-bearing stratum, but as a rule no more than 10 m.

Source: Industrial Construction Standards VSN 33-2.2.03-86 86 “Reclamation Works
and Structures. Drainage on Irrigated Lands. Design Standards”