Поиск Карта сайта English
Главная Новости База знаний Инструменты Проекты Организации и процессы
База знаний

Вертикальный дренаж

Вертикальный дренаж — система буровых скважин для осушения земель, воду из которых откачивают насосами с погруженными электродвигателями. В зависимости от расположения скважин по осушаемой территории различают систематический (скважины расположены равномерно по площади) и линейный дренаж. Последний применяют для перехвата потоков грунтовых вод. Откачиваемая из скважин вода отводится открытыми каналами или трубопроводами в магистральные каналы и водоприемники.

Конструкция скважин вертикального дренажа зависит от грунтов и гидрогеологических условий: фильтры скважин размещают в пределах водоносного пласта, длина их должна быть не менее 10 м. Наиболее эффективны фильтры с гравийно-песчаной обсыпкой.

Глубина скважин до 20…50 м. Диаметр фильтров 30…40 см, толщина обсыпки 10 см и более. Приток воды к скважинам тем больше, чем больше диаметр фильтра.

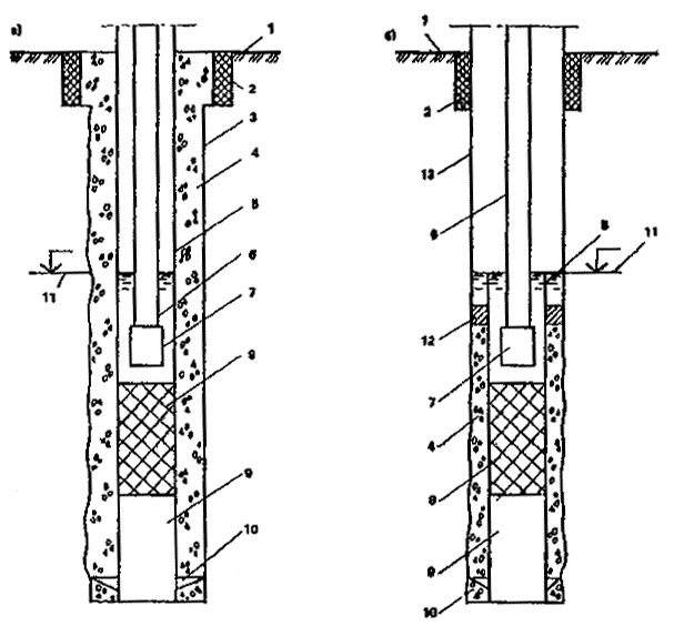
Схемы конструкций скважин вертикального дренажа
а - без крепления обсадными трубами; б - с частичным креплением обсадными трубами
1 - цементный замок; 2 - кондуктор; 3 - ствол скважины; 4 - песчано-гравийная засыпка;
5 - фильтровая колонна; 6 - водоподъемная колонна; 7 - насос; 8 - фильтр; 9 - отстойник;
10 - направляющий (центрирующий) фонарь; 11 - динамический уровень воды в скважине;
12 - сальниковое уплотнение; 13 - обсадная труба

Помимо скважин, насосов, электродвигателей, в состав конструкций вертикального дренажа входят трансформаторная подстанция, линия электропередач, пусковая аппаратура и средства автоматики. Работа вертикального дренажа легко поддается автоматизации. При подъеме грунтовых вод включаются насосы, при опускании их уровней до норм осушения они выключаются. Откачиваемая вода аккумулируется в водоемах, в засушливые периоды ее используют на орошение.

Экономическая эффективность вертикального дренажа зависит в основном от конструкции скважин, их глубин, характера использования откачиваемых вод и земли.

Избранная библиография

Монографии и брошюры

Дренаж в бассейне Аральского моря в направлении стратегии устойчивого развития (2004) 

Наращивание потенциала для стратегии в области дренажа в бассейне Аральского моря (2003) 

Олейник А.Я. - Фильтрационные расчеты вертикального дренажа (1978) 

Решеткина Н.М., Якубов Х.И. - Вертикальный дренаж (1978) 

Шестаков В.М. - Теоретические основы оценки подпора, водопонижения и дренажа (1965) 

Эггельсманн Р. - Руководство по дренажу (1984) 

Статьи

Вертикальный дренаж в Узбекской ССР (1988) 

Духовный В.А. - Дренаж и наша программа мелиоративного усовершенствования (2003) 

Духовный В.А., Якубов Х.И., Умаров П.Д. - Дренаж и контроль засоления: обзор проблем в Центральной Азии (2005) 

Магай С.Д. - Работа восстановленной скважины вертикального дренажа на орошаемых землях Южного Казахстана (2010) 

Магай С.Д., Вышпольский Ф.Ф. - Дренаж и использование водных ресурсов в Южном Казахстане (2010) 

Магай С.Д., Балгабаев Н.Н. - Динамика уровня грунтовых вод и режим работы вертикального дренажа на рисовых полях (2013) 

Развитие дренажных систем, эффективность и оценка их технического состояния и пути повышения эксплуатационной надежности на современном уровне (2003) 

Режим откачек по системе скважин вертикального дренажа (1976) 

Якубов Х.И. - Мелиоративные режимы и оптимизация их параметров с учетом природно-хозяйственных условий. Роль оптимальных мелиоративных режимов в повышении продуктивности земель и воды (2003) 

Нормативно-методическая и справочная информация

Методические указания по расчету элементов конструкции скважин вертикального дренажа (1985) 

Мелиоративные машины и оборудование (1985) 

Руководство по восстановлению дебитов скважин вертикального дренажа механическим способом (1988) 

Руководство по восстановлению дебитов скважин вертикального дренажа импульсным методом (1995) 

Условия применения вертикального дренажа в орошаемых районах СССР. Часть 1 - Азербайджанская ССР, Армянская ССР, Грузинская ССР и РСФСР (1970) 

Условия применения вертикального дренажа в орошаемых районах СССР. Часть 2 - Казахская ССР, Киргизская ССР, Таджикская ССР, Туркменская ССР, Узбекская ССР, Украинская ССР (1973) 

Патенты

Водопонизительная скважина (SU 1348452) 

Скважина вертикального дренажа (SU 1126661) 

Скважина вертикального дренажа (SU 1498887) 

Скважина вертикального дренажа (SU 1705487) 

Устройство для регенерации водозаборных скважин (SU 1783082)